雾化器的拆卸方法
1、做准备,提前准备好可能用到的工具。
2、用螺丝刀取下撞击球。一般使用平口螺丝刀。
3、松开流量调整旋钮
4、使用工具松开雾化针固定环,并取下雾化针固定环以及雾化针和弹簧
5、先将出口端顶住,使用工具将剩下的零件顶出,这样是为了防止零件的丢失。
6、清洗已经拆下来的雾化器零部件
雾化器的安装方法

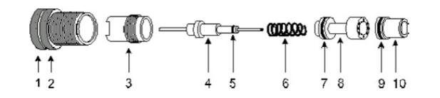
1、按上图将最后拆下的两个组件8-10放入雾化器中
2、使用工具把它顶到定位,结束后需要检查位置正确不正确
3、按照顺序放入弹簧、雾化针、雾化针固定环,随后锁上雾化针固定环
4、最后锁上流量调整旋钮
5、接下来是安装撞击球,安装完成后将固定螺丝锁上
6、安装好撞击球后,最后组装雾化室。
7、最后最好安装后的检查工作,查看雾化器运作起来是否正常。

Copyright © 2017-2022 无锡市骏峰轻工制品厂 备案号:苏ICP备13014442号 All Rights Reserved. XML地图
扫一扫咨询微信客服